Funktionsprinzip eines Vergasers

Zur Fehlerdiagnose und zum Verständnis was man mit geänderten Vergasereinstellungen bewirkt, ist es hilfreich zu verstehen wie ein Vergaser funktioniert.

 

Das wichtigste Bauteil jedes Vergasers ist das Venturirohr. Das ist das Rohr durch das die Luft vom Luftfilter in Richtung Einlass strömt. Das Venturirohr ist in der Mitte nach innen gewölbt wie eine Flugzeugtragfläche.

Wenn Luft durch das Rohr strömt und den engeren Bereich passiert, muß sie an dieser Stelle schneller strömen als in den anderen Bereichen. Dadurch entsteht an der Engstelle ein Unterdruck (wie an der Oberseite einer Tragfläche).

Luft strömt durch das Venurirohr und erzeugt einen Unterdruck.
Benzin wird durch den Unterdruck angesaugt,

An der Engstelle ist ein kraftstoffgefülltes Röhrchen angebracht. Durch den Unterdruck im Venturirohr wird der Kraftstoff angesaugt und vom Luftstrom mitgerissen.


Das ist eigentlich alles was man für einen Vergaser braucht und die ersten hatten auch nicht mehr.

Um fahren zu können muß jedoch die Motorleistung reguliert werden können.

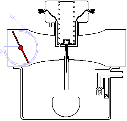
Zur Regulierung der Kraftstoffmenge ist im Vergaser ein Schieber eingebaut. Am Schieber ist eine Düsennadel (rot) befestigt die in die Nadeldüse (grün) eintaucht. Je nachdem wie der Schieber steht verschließt die Düsennadel mehr oder weniger die Nadeldüse.

Wenn der Schieber gleichzeitig den Luftstrom blockiert wenn er unten ist, funktioniert dieser gleichzeitig als Drosselklappe. Dies ist das Prinzip, das zum Beispiel bei den Vergasern der Yamaha RD Motoren zur Anwendung kommt.

Zur gleichmäßigen Gemischbildung ist es wichtig, dass der Kraftstoffpegel in dem Röhrchen konstant ist. Sinkt nämlich der Pegel kann weniger Benzin angesaugt werden, und das Benzin-Luft-Gemisch wird zu mager.

Die Vorrichtung, die den Kraftstoffpegel auf einem Niveau hält besteht aus dem Schwimmer (blau) und dem Schwimmernadelventil (rot). Die Bauteile sind im Schwimmergehäuse (grün) untergebracht.

Sinkt der Kraftstoffpegel senkt sich der Schwimmer und das Schwimmernadelventil) wird geöffnet. Kraftstoff kann nachfließen, der Pegel steigt, der Schwimmer hebt sich und schließt das Schwimmernadelventil.

Damit das Schwimmernadelventil sich nicht in seinen Sitz einarbeitet, wird es auf einer Feder gelagert, die die Stöße abfängt.

Bei Vergaserproblemen immer auch die Feder prüfen, die setzt sich gerne fest wenn der Vergaser längere Zeit nicht in Betrieb ist und der Kraftstoff nicht abgelassen wurde.

Dieser Vergaserhat leider einen Nachteil. Wenn der den Schieber schlagartig aufgezogen wird, ist der ganze Querschnitt geöffnet. Der Motor hat aber noch eine geringe Drehzahl und  der Unterdruck im Venturirohr sinkt an der engsten Stelle ab. Dadurch kann nicht mehr genug Kraftstoff angesaugt werden. Der Motor läuft zu mager bzw. er stirbt ab. Dieses Problem tritt vorwiegend bei den Flachschiebervergaserfahrern auf, da sie genau nach diesem Prinzip arbeiten. Umgekehrt überfettet der Motor wenn der Schieber geschlossen wird.

Um das zu ändern wird eine automatische Schieberregelung eingebaut.

Strömt Luft durch das Venturirohr entsteht Unterdruck. Er wirkt durch die rot eingekreiste Öffnung auf den Schieber. Der Schieber ist durch eine Membrane (orange) gegen den Umgebungsdruck (blauer Kreis) abgeschirmt. Der Unterdruck (grün) hebt dadurch Schieber an bis sich ein Gleichgewicht eingestellt hat.

 

Dadurch wird bei zu magerem Gemisch - also bei zu hoher Drehzahl die Düsennadel herausgezogen und dadurch das Gemisch fetter. Die Drehzahl sinkt bis der Motor mit dem optimalem Gemisch läuft

Der Vergaser funktioniert jetzt schon ganz gut, nur leider gibt es jetzt keine Möglichkeit mehr ihn zu regulieren da alles vom Luftstrom abhängt den der Motor ansaugt.

Um die Drehzahl des Motors zu regulieren braucht man nun eine Drosselklappe.

Die Drosselklappe(rot) reguliert bei Bedarf den Luftstrom im Venturirohr.

Bei geschlossener Drosselklappe entsteht nun aber im Venturirohr kein Unterdruck mehr da die engste Stelle nun an der Drosselklappe ist. Durch das Röhrchen würde kein Kraftstoff mehr angesaugt werden und der Motor würde aus gehen.

Ein zusätzliches Ansaugsystem in der Nähe der Drosselklappe für das Standgas wird benötigt.

Das Benzin wird über die Leerlaufdüse (rot) angesaugt und dabei grob vordosiert. Danach gelangt es an der Gemischregulierschraube (blau) in das Venturirohr.

Damit der Benzinnebel schön fein ist wird das Benzin an der Leerlaufdüse mit Hilfe zusätzlicher Luft die durch den Leerlaufluftkanal (grün) zugeführt wird vorgemischt.

Weil das Prinzip mit dem Vormischen so gut funktioniert wird dies auch im Hauptsystem durchgeführt.

Der Hauptluftkanal (grün) führt über die Hauptluftdüse (blau) die Luft dem Mischrohr (lila) zu. Der Kraftstoff wird durch die Hauptdüse (rot) angesaugt.

Das Mischrohr wird auch als Düsenstock bezeichnet

Der Vergaser wie er jetzt ist hat schon sehr gute Eigenschaften. Der Motor säuft nich ab wenn schlagartig Vollgas gegeben wird und der Leerlauf ist hervorragend einstellbar.

Bei kaltem Motor aber wird ein deutlich fetteres Gemisch benötigt um zu starten. Die Gemischanfettung wird durch den Choke erreicht.

Ältere Vergaser haben hierzu oft am Anfang des Venturirohres eine zusätzliche Drosselklappe um den Luftstrom zu verringern. Dadurch wird der Luftstom verringert und das Gemisch fettet an.

Eine weitere Möglichkeit ein fetteres Gemisch zu erhalten ist einfach mehr Kraftstoff zuzuführen Die erreicht man mit einem Kaltstartventil mit eigener Kaltstartkraftstoffdüse.

Wenn das Kaltstartventil (blau) geöffnet wird, strömt Luft durch die Kaltstartluftdüse (lila), und an dem Kaltstartventil vorbei. Dabei reißt es Benzin mit, welches durch die Kaltstartkraftstoffdüse(rot) angesaugt wird .

Letzte Änderung: 10.03.2004